肖战工作室持股人变更 经纪人王力威退股肖战工作室
肖战工作室持股人变更 经纪人王力威退股肖战工作室
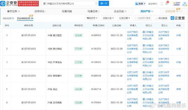
新浪娱乐讯 近日,肖伟、王力威(肖战经纪人)退出厦门仲夏之月文化传媒有限公司股东行列,退出前两人分别持股 20% 与 50%。股东变更后,方持慧成该公司唯一股东,最终受益股份从 "30%" 上升到 "100%"。据悉,该公司成立于 2019 年 9 月,注册资本 300 万元,经营范围包含电影和影视节目制作、文艺创作与表演、演出经纪业务等。此外,该公司已申请注册数十个 " 肖战 " 相关商标,并于 2022 年 3 月,将 26 枚 " 战 XZ · STUDIO" 转让给北京竹报文化传媒有限公司。





相关标签:
-
- 龚俊将与杨紫合作《嫡谋》? 龚俊方否认
-
2023-08-15 02:08:59
-
- 网传程潇秘恋 61 岁梁朝伟还诞下私生子,程潇方回应:假得离谱
-
2023-08-15 02:06:44
-
- Lisa入驻2023亚洲名人堂 仪式10月21日洛杉矶举行
-
2023-08-15 02:04:29
-
- 刘诗诗为倪妮庆生:生日快乐我妮,漂亮的珠珠女孩
-
2023-08-15 02:02:15
-
- 王俊凯网吧游戏直播被偶遇 为网速更快选择坐大厅
-
2023-08-15 02:00:00
-
- 李一桐新剧路透穿黄粉古装 造型可爱似年画娃娃
-
2023-08-15 01:57:46
-
- 赵丽颖说不会成为虎妈 希望孩子想做什么就做什么
-
2023-08-15 01:55:31
-
- 一起搞事业!向佐郭碧婷新片入围多伦多电影节
-
2023-08-15 01:53:17
-
- 雎晓雯被曝生女 丈夫金大川抱婴儿篮前往月子中心
-
2023-08-15 01:51:02
-
- 周杰伦超时代摩天轮过渡期(一万公里的约定周杰伦只出场三分钟)
-
2023-08-14 03:16:19
-
- 吴京2024年新片计划(2023春节档院线复苏)
-
2023-08-14 03:14:04
-
- 唐一菲回忆凌潇肃姚晨离婚事件(唐一菲有孕凌潇肃年底当爹)
-
2023-08-14 03:11:49
-
- 青春有你2刘令姿排名升A班现状如何 刘令姿个人资料深扒
-
2023-08-14 03:09:34
-
- 刘园园个人资料信息 刘园媛老公是谁
-
2023-08-14 03:07:19
-
- 鹿晗终止与爱彼品牌合作关系 爱彼辱华后官方发文致歉
-
2023-08-14 03:05:04
-
- 柯震东陈妍希在一起过吗 深扒陈妍希与柯震东故事
-
2023-08-14 03:02:50
-
- 吴莫愁和哈林结婚照惊呆网友 好声音走红怎么突然没消息了
-
2023-08-14 03:00:35
-
- 高以翔录制一集15万为此丧命太不值 徐峥怒斥追我吧后者停止录制
-
2023-08-14 02:58:21
-
- 常华森个人资料当年高考多少分 和孙滢皓什么关系
-
2023-08-14 02:56:06
-
- 龙岭迷窟中的闻香玉是什么真的存在吗 闻香玉多少钱一克原石价格
-
2023-08-13 04:25:06



张首芳最后的结局(历史张首芳简介)
金玉婷的老公,歌手金婷婷丈夫 个人简历