郑爽偷漏税涉事公司拟注销 仍存在千万欠款未履行
郑爽偷漏税涉事公司拟注销 仍存在千万欠款未履行
据媒体报道,演员郑爽被海宁某影视投资有限公司告上法庭,要求赔偿。近日,该案判决结果公开,郑爽被判退还服务费 3050 万元及利息,并赔偿 6000 万元。

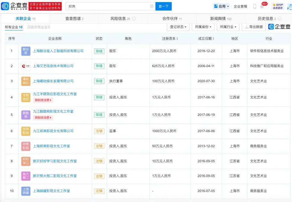
企查查 APP 显示,郑爽名下共关联 10 家企业,其中 5 家为存续状态,其中,九江羊群效应影视文化工作室、九江酷酷熊影视文化工作室已被限制高消费。

值得关注的是,近期,郑爽拍摄《倩女幽魂》时签订 " 阴阳合同 " 涉事公司新沂萃珊雯影视文化有限公司新增注销备案信息,郑爽母亲刘艳任该公司法定代表人、执行董事,郑爽父亲郑成华担任监事。此外,郑爽目前仍有 1572 万余元被执行金额未履行,涉及与《绝密者》出品公司霍尔果斯尚晖影视文化传媒有限公司服务合同纠纷案件。

-
- 气质女神——朱珠个人资料简介
-
2023-09-29 23:43:05
-
- 王刚简介个人资料(王刚,分工明确)
-
2023-09-29 23:40:51
-
- 2021年星光大道歌手张馨月个人资料及简介(地地道道沂蒙山妹子、人美歌甜)
-
2023-09-29 23:38:36
-
- 郑爽偷漏税涉事公司拟注销 仍存在千万欠款未履行
-
2023-09-29 23:36:22
-
- 女神李一桐个人资料简介(90后小花旦)
-
2023-09-29 23:34:07
-
- 赵立坚个人资料简介(赵立坚,有新职)
-
2023-09-29 23:31:53
-
- 李光羲简介个人资料(著名男高音歌唱家李光羲去世)
-
2023-09-29 23:29:38
-
- 管晨辰个人资料简介– 16岁拿冠军、17岁上浙大!
-
2023-09-29 23:27:24
-
- 2021年全国高考状元是谁(河南高考状元彭子年:天天打游戏却考732分,如今怎
-
2023-09-29 03:56:16
-
- 喜剧大师卓别林简介(出生贫困,演出片酬百万美元,4任妻子年轻漂亮)
-
2023-09-29 03:54:00
-
- 节目组对张艺兴明目张胆的偏爱,到底值不值得?
-
2023-09-29 03:51:46
-
- 苏小玎:演《狂飙》高启盛,每天都要接受张颂文的灵魂拷问丨专访
-
2023-09-29 03:49:30
-
- 刘涛个人资料(刘涛的2022年,打了多少酱油?)
-
2023-09-29 03:47:16
-
- 五帝是谁(中国传统文化知识普及之三:远古时代的“五帝”是哪五位?)
-
2023-09-29 03:45:01
-
- 纪伯伦简介主要作品(外国文学史上的今天 | 纪伯伦:艺术是从自然走向无穷的一
-
2023-09-29 03:42:46
-
- 汪涵的个人资料 还记得《天天向上》的汪涵吗?录节目翻车了?
-
2023-09-29 03:40:31
-
- 孝谦天皇的风流韵事 孝谦天皇和道镜和尚的故事
-
2023-09-29 03:38:17
-
- 《狂飙》高叶:演反派让人不讨厌,最不懂的年纪遇到了最好的爱情
-
2023-09-29 03:36:02
-
- 马思纯个人资料简介及全名(演员马思纯,从恋爱到生活经历了什么?)
-
2023-09-28 08:59:01
-
- 罗永浩简介个人资料(投资人长文“炮轰”罗永浩:不地道、不懂感恩!)
-
2023-09-28 08:56:47



张首芳最后的结局(历史张首芳简介)
金玉婷的老公,歌手金婷婷丈夫 个人简历