和鸿星尔克相似的商标是(低调的鸿星尔克)
和鸿星尔克相似的商标是(低调的鸿星尔克)
“TO BE NO.1”,是大家对鸿星尔克为数不多的记忆。
河南郑州一场暴雨,让这个品牌再次回归大众的视野。
在鸿星尔克低调捐款5000万后,不少网友表示“这么多年了原来它还在”!
这个被认为濒临破产还毅然决然帮助灾区的中国本土企业,一时间受到数千万网友的追捧。

直播间卖到断货、实体店被搬空、还有人剪鸿星尔克logo的发型......
有网友发现,鸿星尔克国际商标到期了,还称要帮它续展!
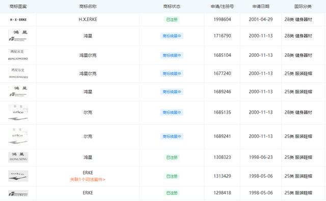
小知查询了解到,这么多年低调行事的鸿星尔克,注册商标一点也不低调,陆陆续续申请注册了上千件商标,构筑品牌护城河。

鸿星尔克(厦门)实业有限公司成立于2000年6月,但是其早在1995年就开始注册商标了,此前注册的是“尔克”和图形商标。

1998年又注册了“鸿星”和“ERKE”图形商标。2000年开始,鸿星尔克logo基本定下来了,公司开始大量注册“鸿星尔克”相关商标。

从上图可以看到,目前鸿星尔克很多商标都在续展中。
注册商标有效期为10年,商标续展是指注册商标有效期满,需要继续使用的,商标注册人应当在期满前十二个月内按照规定办理续展手续,每次续展注册的有效期为10年。
2007年,鸿星尔克还曾申请过“迈向第一;TO BE NO;1”商标,不过目前处于无效状态。
这20年来,鸿星尔克不断申请新商标,十分重视商标布局,对于品牌保护起到重要作用。
,
-
- 复古时尚潮流女装(生活中的时尚旅行者)
-
2023-10-06 02:17:42
-
- 范成大是哪个朝代的诗人(范成大个人介绍)
-
2023-10-06 02:15:12
-
- 中国传统文化故事(3个中国传统文化故事讲述)
-
2023-10-06 02:12:42
-
- 斯诺克奥沙利文和艾伯顿的赛事(斯诺克快枪手排名)
-
2023-10-06 02:10:11
-
- socks代理ip和端口怎么填(SOCKS5代理的三大优势)
-
2023-10-06 02:07:41
-
- skt对kt最新比赛(SKT击败KT终止五连败)
-
2023-10-06 02:05:11
-
- 颜值最高的古代冷兵器(世界上最昂贵的冷兵器)
-
2023-10-06 02:02:41
-
- 奇瑞风云2正常价格(奇瑞风云2官方大降价)
-
2023-10-06 02:00:11
-
- 金针菇的种植(金针菇如何种植)
-
2023-10-06 01:57:41
-
- lol有哪些装备(盘点LOL里那些专属装备)
-
2023-10-06 01:55:10
-
- 旭旭宝宝跟他老婆的(旭旭宝宝老婆露脸圈粉无数)
-
2023-10-06 01:52:40
-
- 死神中最强的五把斩魄刀(死神中最让人惊艳的斩魄刀)
-
2023-10-06 01:50:10
-
- 春节传统风俗有哪些 10个春节传统习俗
-
2023-10-06 01:47:40
-
- 牙签肉9种做法(教你最简单的家常做法)
-
2023-10-06 01:45:10
-
- 户户通安装教程全集(教你如何自己动手安装户户通)
-
2023-10-06 01:42:40
-
- 晏子谏齐景公原文及翻译(晏子谏齐景公讲解)
-
2023-10-06 01:40:10
-
- 哑舍大画集介绍(哑舍第三卷天钺斧)
-
2023-10-06 01:37:39
-
- 柳蒿芽的作用与功效(有哪些作用与功效呢)
-
2023-10-06 01:35:09
-
- 泪沟怎么消除(这六种方法都很好用)
-
2023-10-06 01:32:39
-
- 口碑最好的十大净水器排名(净水器十大品牌)
-
2023-10-06 01:30:09



翁帆的第一任丈夫照片和资料介绍,翁帆看不上普通的小职员
和谐玉溪多少钱一包?硬和谐40元一包(烟味绵长)